Microsoft патентує смартфон, що складається на 360 градусів
Microsoft подала патент на пристрій, що виглядає як складаний телефон, здатний обертатися на 360 градусів. Патент був поданий ще в лютому 2021 року, але нещодавно, 1 жовтня 2024 року, Бюро патентів і торгових марок США (USPTO) опублікувало 38-сторінковий документ, що детально описує ідеї компанії щодо цього пристрою. Про це повідомляє MSPowerUser.
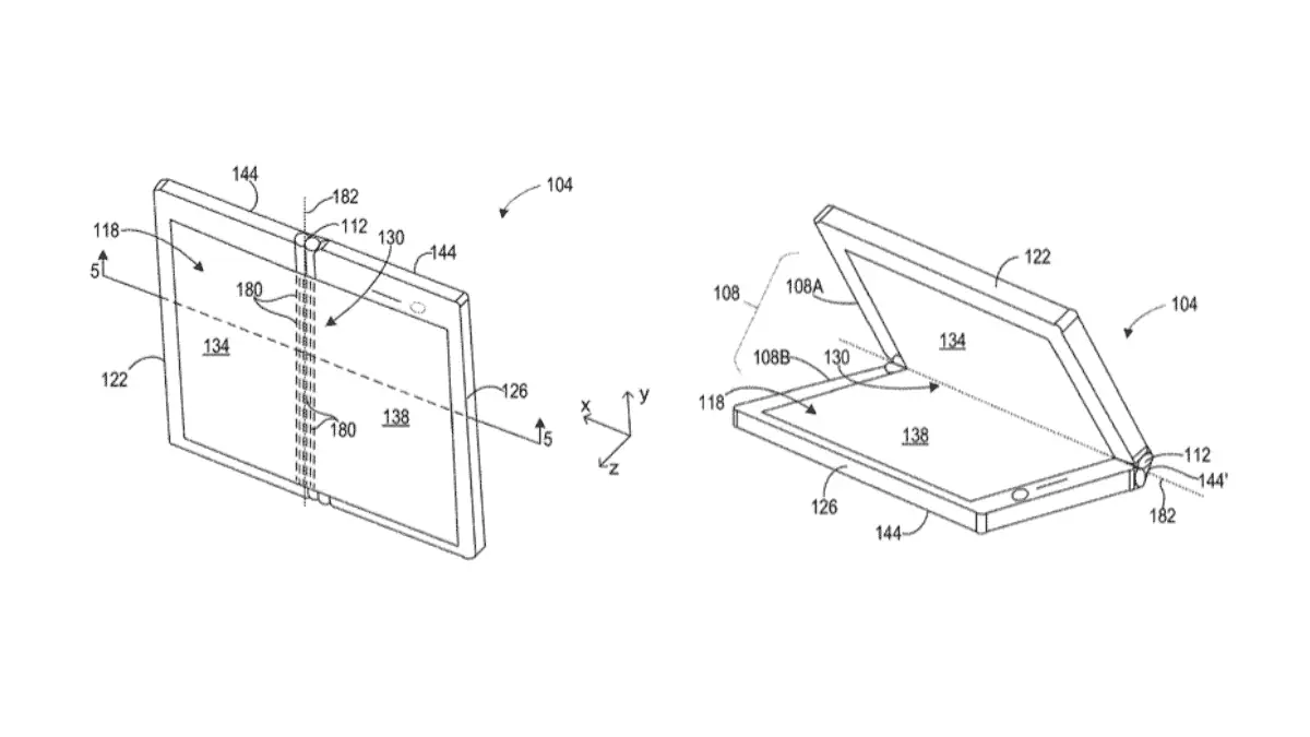
У своїй заявці Microsoft описує пристрій, який може складатися на 360 градусів і перетворюватися на планшет, ноутбук або інший обчислювальний апарат. Новий гаджет має задню кришку, скляний шар і світловипромінюючий шар між ними. У пристрої передбачені спеціальні слоти як у скляній кришці, так і в задній панелі, що забезпечує його легке і плавне складання без заломів.
Крім того, компанія з Редмонда розробила методику складання пристрою в різних напрямках, що дозволяє лівій та правій сторонам скляної кришки дивитися одна на одну або відходити одна від одної.
Microsoft стверджує, що для створення плавних переходів, які дозволяють пристрою обертатися без заломів, використовуються лазерна модифікація та вологе травлення, які водночас зберігають структуру сенсорного модуля дисплея.
Це не перша спроба Microsoft реалізувати ідею складаного пристрою. Ми вже бачили підйом і падіння Surface Duo, перше покоління якого було випущене у 2020 році за ціною $1,399. Остання версія Surface Duo 2 вийшла у 2021 році й була знята з виробництва через два роки, попри чутки про Surface Duo 3, які тепер офіційно скасовані.
У червні з’явилася ще одна патентна заявка від Microsoft на смартфон під кодовою назвою “Neon”, який мав би мати складаний екран, зовнішній дисплей і магнітні аксесуари, включаючи підставку, що прикріплюється в різних орієнтаціях. Дизайн передбачав 180-градусний шарнір і потрійну камеру, але новий патент розкриває зовсім інший пристрій.
Здається, що конкуренція в сегменті складаних пристроїв знову набирає обертів: в минулому місяці був випущений Huawei Mate XT — тришаровий смартфон, на який вже надійшло понад 3 мільйони попередніх замовлень. Apple поки що не представила складані телефони, хоча повідомлення вказують на те, що компанія з Купертіно подала патент на самовідновлювальний екран, що ремонтує незначні подряпини, а також на шарнір для складаних пристроїв.
Більшість складаних телефонів, які ми бачили раніше, можуть лише складатися всередину, тому механізм складання на 360 градусів звучить обнадійливо.
Отже, чи стане це кращим виконанням пристрою Surface Duo? Чи отримаємо ми щось зовсім нове? Поділіться своїми думками в коментарях!
